- 全部
- 热门
- 最新评论
- 最新发帖
- 全部
- 个人号
- 机构号
-
黄马大哥
发表于 2025-12-29 14:14 37次浏览
还有没有继续下去的动力
评论赞 -
阿军1978
发表于 2025-12-18 09:27 53次浏览
方向不变,亏损的减少股数,盈利的撤出本金
评论赞 -
股友6F6Y633758
发表于 2025-12-09 15:59 58次浏览
含泪默默数钱
评论赞 -
股友d9686n7671
发表于 2025-12-04 16:55 42次浏览
伙计们不要怕!加仓干就对了!!
评论赞 -
黑桃林城阳
发表于 2025-11-21 10:39 49次浏览
系好安全带,开始看表演!
评论赞 -
财经二狗子
发表于 2025-10-16 15:16 79次浏览
感觉股票这个东西,别被情绪左右!
评论赞 -
药企刘秀
发表于 2025-10-09 17:29 211次浏览
凶弟姐妹们,明天吃红烧肉
评论赞 -
洪世贤mini号
发表于 2025-08-28 10:09 92次浏览
主力开始流出
评论赞 -
心酸股价
发表于 2025-08-08 11:51 185次浏览
加仓的时候来了!
评论赞 -
股友资深渣男
发表于 2025-05-27 10:25 134次浏览
现在还在的成本最高的多少?
评论赞 -
大模型观察
发表于 2025-04-15 10:49 129次浏览
现在的操盘手拉起来都是几倍
评论赞 -
股友68f900188q
发表于 2025-04-14 17:25 176次浏览
下一个茅台,市值破万亿
评论赞 -
股友9T1258w046
更新于 2025-02-09 09:32 1099次浏览
揭金融富豪、积木盒子品钛集团实控人董骏的发家史
2024年12月,积木盒子(北京乐融多源信息技术有限公司)已立案五年了。几十亿烂债一直没还,案情公告从没发过,主犯一个没抓。策略就是一个“拖”字,拖成冷案就方便结案了。和董骏在云南中铭时的逃废债策略一样。港股08187的壳已被董骏卖掉,卖的钱一分也没用来还债。纳斯达克的品钛集团PT已是垃圾股,只在被警告退市时做一下市值管理。偷走的几十亿,除了小部分真标和能洗出境的,其它部分已变成了董骏的“自有资金...
18 -
新坏脾气
发表于 2025-01-09 14:02 162次浏览
我的成本又下降了
评论赞 -
股友8vo7737192
发表于 2024-12-04 10:45 337次浏览
又错过了?
评论赞 -
習慣習慣
发表于 2024-07-29 14:06 332次浏览
亏了,我认输,留下的发财删自选
评论1 -
洪世贤mini号
发表于 2024-04-15 13:48 2757次浏览
根据我两个月以来炒股的经验来看,此股会涨
评论赞 -
智瑾财经
发表于 2024-03-27 22:49 354次浏览
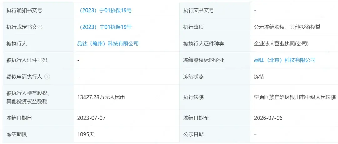
品钛关联公司成被执行人涉资2.12亿元:仍有1.3亿元股权被冻结
美股上市的金融科技公司品钛的经营处境可能变的越来愈发艰难。近期,其在国内运营的关联主体品钛(北京)科技有限公司和品钛(赣州)科技有限公司新增了一条被执行人信息,涉及标的约2.12亿元,执行法院为宁夏回族自治区银川市中级人民法院。据了解,该合同纠纷案原告为银川兴银投资基金合伙企业(有限合伙),被告为品钛(赣州)科技有限公司、品钛(北京)科技有限公司及第三人华钛(宁夏)企业咨询服务合伙企业(有限合伙)...
评论1 -
金融虎
更新于 2024-03-26 14:37 336次浏览
品钛关联公司成被执行人涉资2.12亿元:仍有1.3亿元股权被冻结!
来源:虎讯APP作者:雄飞美股上市的金融科技公司品钛的经营处境可能变的越来愈发艰难。近期,其在国内运营的关联主体品钛(北京)科技有限公司和品钛(赣州)科技有限公司新增了一条被执行人信息,涉及标的约2.12亿元,执行法院为宁夏回族自治区银川市中级人民法院。据了解,该合同纠纷案原告为银川兴银投资基金合伙企业(有限合伙),被告为品钛(赣州)科技有限公司、品钛(北京)科技有限公司及第三人华钛(宁夏)企...
1赞 -
股友Y075920L26
更新于 2024-01-20 20:14 243次浏览
品钛董骏手段六
手段六上市控筹码圈钱这块董骏只赚IPO和借壳上市后的第一波,并没兴趣在二级市场上坐庄。原因也很简单:比起逃废债,坐庄简直累死了。坐庄需要大量资金、壳帐户、消息面、基本面配合去控盘不说,关键是在明面上,被监管和一群股民盯着,太容易暴露。而逃废债就完全是零成本,还是在桌底下,除了债权人根本没人知道,明明是刑事诈骗,实务中还都是走民事借贷纠纷,受害人还大概率举证困难、输掉官司,比坐庄轻松一万倍。...
14









