- 全部
- 热门
- 最新评论
- 最新发帖
- 全部
- 个人号
- 机构号
-
个股解码局
发表于 04-11 02:34 113次浏览
阿斯利康2026年多线突破,研发与组织双升级
邀您观看:阿斯利康2026年多线突破,研发与组织双升级
评论赞 -
公告 阿斯利康|6-K:重大事件
发表于 04-10 01:03 37次浏览
评论赞 -
资讯 AI重构大健康产业,多款脑机接口新品亮相健博会
更新于 04-09 14:14 2130次浏览
34 -
公告 阿斯利康|25-NSE:证券终止上市公告(交易所披露)
发表于 04-09 02:22 55次浏览
评论赞 -
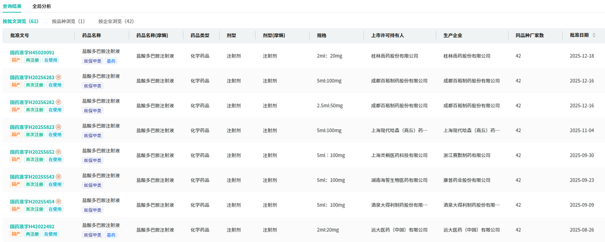
摩熵医药
发表于 04-08 14:44 134次浏览
两药企断供被罚四年禁入国采!88亿达格列净市场迎国产替代加速
一日之内,两大药品列入违规名单,国家药品集采的监管铁拳再次落下,这一次,矛头直指“断供”红线。 4月3日,上海阳光采购网发布公告,因未按协议满足供应,北京阜康仁的盐酸多巴胺注射液和HeteroLabs的达格列净片被取消中选资格。并将两家企业被列入“违规名单”,暂停参与国家集采申报资格长达四年,直至2030年4月2日。 这并非孤立事件。就在前一天,另有两家药企因生产质量“严重缺陷”,其美索巴莫注射液...
评论赞 -
格隆汇
发表于 04-08 14:17 100次浏览
大摩:将阿斯利康目标价上调至16500便士
格隆汇4月8日丨摩根士丹利将阿斯利康目标股价从16000便士上调至16500便士。
评论赞 -
资讯 全球生物医药巨头阿斯利康落子广州;深圳即将启用广东首个机器人停车场丨大湾区财经早参
发表于 04-08 07:08 244次浏览
评论赞 -
深圳清风路
发表于 04-06 16:13 42次浏览
无敌了,和可口可乐一个向上趋势
评论赞 -
资讯 “木头姐”发声 这一赛道被严重低估
更新于 04-06 05:57 3.8万次浏览
5133 -
智通财经
发表于 04-03 21:08 180次浏览
阿斯利康(AZN.US)自研ADC新药在国内启动首个III期临床
阿斯利康(AZN.US)自研ADC新药在国内启动首个III期临床。4月3日,药物临床试验登记与信息公示平台官网显示,阿斯利康(AZN.US)登记了一项AZD5335用于叶酸受体(FR)阳性(高表达及低表达)的经1-3线治疗后铂耐药高级别巢上皮癌患者治疗的III期临床(登记号:CTR20261196)。 来源:药物临床试验登记与信息公示平台官网 本次启动的是TREVI-OC-01研究的国内临床部分...
评论赞 -
个股解码局
发表于 04-03 07:27 306次浏览
阿斯利康肝癌新疗法获突破
邀您观看:阿斯利康肝癌新疗法获突破
评论赞 -
吉祥四海涨不停
发表于 04-02 23:40 36次浏览
什么时候把新诺威的进度款付一下?
评论赞 -
公告 阿斯利康|6-K:重大事件
发表于 04-02 21:31 49次浏览
评论赞 -
公告 阿斯利康|6-K:重大事件
发表于 04-01 22:32 47次浏览
评论赞 -
公告 阿斯利康|6-K:重大事件
发表于 03-31 19:53 45次浏览
评论赞 -
资讯 核药“热战”:阿斯利康为何押注广州?
发表于 03-31 19:23 285次浏览
评论赞 -
资讯 司美替尼在华获批新适应症,用于治疗1型神经纤维瘤病
发表于 03-31 15:12 195次浏览
评论赞 -
资讯 国家医保局副局长李滔会见多家跨国医药企业及行业协会负责人
发表于 03-31 13:01 284次浏览
评论赞 -
资讯 国家医保局副局长李滔会见多家跨国医药企业及行业协会负责人
发表于 03-31 12:51 270次浏览
评论赞 -
摩熵医药
发表于 03-31 10:41 456次浏览
中国首个TSLP单抗获批!阿斯利康、安进特泽利尤单抗布局哮喘等呼吸疾病市场
3月27日,国家药监局(NMPA)官网显示,阿斯利康和安进联合递交的TSLP单抗特泽利尤单抗注射液(tezepelumab)获批上市,用于治疗哮喘及慢性鼻窦炎伴鼻息肉病,成为中国首个获批上市的TSLP靶点单克隆抗体药物。 特泽利尤单抗由$阿斯利康(NYSE|AZN)$与$安进(NASDAQ|AMGN)$合作开发,是全球首款且目前唯一获批上市的TSLP(胸腺基质淋巴细胞生成素)单抗。作为一种同类首创...
评论赞







