- 全部
- 热门
- 最新评论
- 最新发帖
- 全部
- 个人号
- 机构号
-
领头羊资讯
更新于 04-24 20:02 219次浏览
$ST诺泰(SH688076)$我就想问一下,隔壁的同行一季度净利润6636.22万元,同比增长40.84%。 2025不说了,认了。但是2026一季度,去年也计提后,你st诺泰还同比减少利润!管理层和销售和财务都是屁隔吗
25 -
西北狼y
发表于 04-24 19:55 26次浏览
连跌9天了
评论赞 -
小小小明明9665
更新于 04-24 19:08 374次浏览
持股8万,成本42元,算大户吗
85 -
大混沌789
更新于 04-24 18:27 742次浏览
电话问了,属实,但就是不公告,说自己查官网
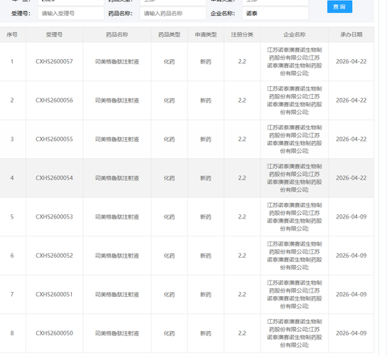
$ST诺泰(SH688076)$一、受理与当前状态(截至2026-04-23) 已提交并获受理:诺泰生物司美格鲁肽注射液(2.2类改良新药)8个NDA上市申请(降糖4规格+减重4规格)于2026-04-09获CDE正式受理。 -受理号:CXHS2600050、CXHS2600051、CXHS2600052等共8个。 -当前阶段:已受理、正在审评,无暂停/终止公告。 二、审批周期与预计时间 属2.2...
42 -
御妖山俠
更新于 04-24 18:07 136次浏览
$ST诺泰(SH688076)$2022年4月28日-2024年10月23日买入诺泰生物(ST诺泰),10月24日(含)后卖出或持有者注意!公司因年报虚增营收3000万、债券发行文件造假被罚7620万,股价当月暴跌近30%致损,索赔案已获法院立案。凭身份证、证券账户及交易流水联系“谢保平律师”免费登记,律师费获赔后支付,速维权勿失时效!
22 -
股友A197669V05
发表于 04-24 17:29 348次浏览
评论3 -
听海的枫
更新于 04-24 17:10 326次浏览
$ST诺泰(SH688076)$隔了这么多天,官方终于确认了,这么大的利好,放在翰宇早就炒上天了,诺泰的市值管理堪忧啊
12 -
股东515
更新于 04-24 16:20 1083次浏览
诺泰生物可索赔登记,公司因信披违规收到处罚,根据相关司法解释,凡是2022年4月28日至2024年10月23日期间买入且在2024年10月23日收盘时还持有的受损投资者,可蹬公号“众维515”进行登记。
451 -
QJHY22302
更新于 04-24 16:19 139次浏览
处罚这个公司5年不得融资它的资金流动性没有了,经营活动受到极大限制利润将会大幅下降股价跌,退市的可能性依然存在
32 -
北京中登律师事务所
更新于 04-24 15:03 972次浏览
2025年12月18日,诺泰生物公告收到《行政处罚决定书》。中国证监会认定,诺泰生物虚增收入和利润,导致公司披露的2021年年度报告存在虚假记载。
523 -
卡巴拉
更新于 04-24 15:03 55次浏览
575859三连骂!操盘的!
24 -
QJHY22302
发表于 04-24 14:49 42次浏览
ST股票下跌退市都是正常现象不要大惊小怪
评论2 -
股友87mX622262
更新于 04-24 14:42 63次浏览
$ST诺泰(SH688076)$想看一看这个股票能连跌几个月,9个月了
![捂脸 [捂脸]](//gbfek.dfcfw.com/face/emot_default/emot42.png)
![捂脸 [捂脸]](//gbfek.dfcfw.com/face/emot_default/emot42.png)
,立个帖子记录一下13 -
小兔乖乖宝宝
发表于 04-24 14:35 34次浏览
$ST诺泰(SH688076)$月线九连阴
评论1 -
等稳稳
发表于 04-24 13:57 35次浏览
仙股了
![笑哭 [笑哭]](//gbfek.dfcfw.com/face/emot_default/emot39.png)
评论4 -
勤劳之金橘
发表于 04-24 13:53 41次浏览
$ST诺泰(SH688076)$
评论赞 -
科技股才是未来
更新于 04-24 11:38 290次浏览
审批时间需要多久
21 -
股友SDIPLp4274
更新于 04-24 11:10 52次浏览
真好意思天天跌
11 -
独孤燕
发表于 04-24 11:01 44次浏览
佛山人呢?彻底跑路啦?
评论赞 -
科技股才是未来
发表于 04-24 10:22 43次浏览
审批时间多长
评论1


![大笑 [大笑]](http://gbfek.dfcfw.com/face/emot_default/emot2.png)
![捂脸 [捂脸]](http://gbfek.dfcfw.com/face/emot_default/emot42.png)
![笑哭 [笑哭]](http://gbfek.dfcfw.com/face/emot_default/emot39.png)
